周五(10月14日)亚盘,美元/韩元暴跌,目前交投于1427附近,截止北京时间10:11,美元对韩元最新价报1427.4400,跌幅0.23%,上一交易美元兑韩元汇率最低价为1422.9800,收盘价报1430.6700。在通胀之外,让韩国政府备感苦恼的还有韩元贬值问题。自三季度以来,韩元就是表现最差的亚洲货币。
从年初至今,韩元对美元汇率已经贬值超过20%。截至10月13日下午4时许,韩元对美元汇率继续下跌为1美元兑1431.6韩元。韩元贬值将产生一系列负面影响。杨盼盼表示,韩元贬值会进一步推高通胀,削弱内需。韩国央行选择动用外汇储备支撑韩元。韩国央行数据显示,由于动用外储支撑韩元汇率,韩国的外汇储备在9月出现了近14年来的最大降幅。此外,在刘英看来,韩国央行进行加息也是试图提振韩元汇率。
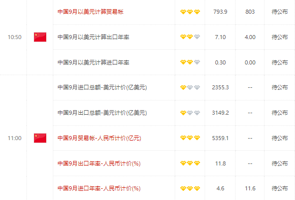
最新财经数据一览:
温馨提示:美元兑日元触及32年新高,日本当局或再次出手干预。具体操作请关注XM外汇网,市场瞬息万变,投资需谨慎,操作策略仅供参考。
